Работа устройства для получения биогаза
Основной принцип работы установки по производству биогаза – брожение. В результате полученный биогаз, используется, как и природный. К примеру, с его помощью можно обогреть помещение или выработать электроэнергию.
Таким газом можно заправить автомобиль, естественно, сначала его потребуется сжать.
Сам процесс выработки биогаза в биогазовой установке происходит в несколько этапов. На первом этапе загружается сырье. Для обеспечения максимальной эффективности, придерживаются определенной влажности сырья. Наилучший вариант – использование функции добавления воды.
После загрузки сырья в емкость, из расчета 1 к 8 к сырьевой базе добавляют воду и включают насос, с помощью которого все тщательно перемешивается и становится однородным.

Процесс выработки биогаза из навоза
Далее сырьевая масса, попадает в биореактор, при этом, продолжая перемешиваться. Перемешивание автоматически отключится после полной выгрузки сырья из емкости.
Однородная, смешанная с водой биомасса, попадает в биореактор через открывающийся технологический люк. Такой же герметичный люк имеется и в верхней части биореактора. На нем расположены приборы, отслеживающие уровень биомассы, измеряющие давление биогаза и осуществляющие его отбор.
Чтобы не случился разрыв емкости, специальный компресс автоматически может включаться или выключаться при повышении давления. Также компрессор способствует откачке газа из биореактора в газгольдер.
Биореактор также оснащен нагревательным элементом, который поддерживает нужную для брожения температуру.
Затем биомасса попадает во вторую часть биореактора, где проходит химическая реакция. Все процессы происходят с постоянным перемешиванием биомассы, что исключает возможность образования плавающей корки, которая препятствует выходу биогаза. После того как биомасса окончательно перебродила, она попадает в выгрузочный сектор, где отделяется жидкое удобрение и остатки газа.
ПРЕДВАРИТЕЛЬНЫЙ РАСЧЕТ БИОГАЗОВОЙ УСТАНОВКИ
Прежде чем приступать к покупке или самостоятельной сборке биогазовой установки необходимо адекватно оценить наличие сырья, его тип, качество и возможность бесперебойной поставки. Далеко не каждое сырье подходит для получения биогаза. Сырье, которое не походит:
сырье с высоким содержанием лигнина; сырье, которое содержит опилки хвойных деревьев, (с наличием смол) с влажностью, превышающей 94% гниющий навоз, а также сырье плесенью либо синтетическими моющими веществами.
Если сырье подходит для переработки, то можно приступать к определению объема биореактора. Общий объем сырья для мезофильного режима (температура биомассы колеблется от 25-40 градусов, наиболее распространенный режим) не превышает 2/3 объема реактора. Суточная доза составляет не более 10% от общего загруженного сырья.
Любое сырье характеризуется тремя важными параметрами:
плотность; зольность; влажность.
Последние два параметра определяются из статистических таблиц. Сырье разбавляется водой из учета достижения 80-92% влажности. Отношение количества воды и сырья может колебаться в соотношении от 1:3 и до 2:1. Это делается, чтобы предать субстрату требуемую текучесть. Т.е. чтобы обеспечить проходимость субстрата по трубам и возможность его перемешивания. Для малых биогазовых установок плотность субстрата допускается принимать равной плотности воды.
Попробуем определить объем реактора на примере.
Получается, что суточная доза загрузки сырья составит около 650 кг. Полная загрузка реактора: ОС=10х0,65=6,5 тонн, а объем реактора ОР=1,5х6,5=9,75 м³. Т.е. нам понадобится реактор объемом 10 м³.
Схема установки
В простейшем исполнении газогенератор не оснащается подогревом и устройством перемешивания. Работы по строительству установки ведутся в следующей последовательности:
- Выкапывается котлован достаточных размеров, дно которого бетонируется.
- В котлован опускают одно за другим несколько ж/б-колец, формируя из них цилиндрический резервуар. Все стыки следует герметизировать битумной мастикой.
- Бетонная емкость оклеивается теплоизоляцией и гидроизоляцией, после чего приступают к засыпке котлована.
- Сверху на реактор укладывается крышка с плотно закрывающимся загрузочным люком. В ходе брожения сырья в реакторе образуется высокое давление, поэтому крышку для надежности можно закрепить тросами. Не будет лишним установить в ней предохранительный клапан с противовесом в виде гири.
- К загрузочному люку необходимо присоединить бункер.
- Остается подключить к реактору трубопроводы. При этом на линии отведения готового продукта должен быть установлен гидрозатвор.
Биомасса готовится следующим образом:
- Следует взять 3 части коровьего навоза и 7 частей сгнивших растительных остатков – ботвы овощных культур, листьев, очисток и т.д.
- Получившуюся смесь необходимо разбавить водой, подняв тем самым ее влажность до 60% – 70%.
С целью увеличения производительности можно применить более совершенную схему установки, включающую водяной подогрев. В роли теплогенератора будет выступать водогрейный котел, работающий на вырабатываемом установкой топливе.

Биогазовая установка своими руками – чертеж
При загрузке сырье достаточно прогреть до 35 градусов, после чего его температура в результате брожения поднимется до 70 градусов.
Как показала практика, 5-тонная загрузка биомассы позволяет в течение 6-ти месяцев получать ежедневно в среднем около 40 куб. м газообразного топлива.
Ветрогенератор для частного дома – очень полезное устройство, так как позволяет получать энергию абсолютно бесплатно, что неплохо экономит расход основного источника энергии. Как сделать ветрогенератор своими руками, вы узнаете на нашем сайте.
Чертежи и порядок сборки твердотопливного котла длительного горения смотрите по этой ссылке.
Производители и модели
Мы подготовили краткий обзор наиболее популярных моделей российских производителей, ведь они ничем не отличаются от их аналогов зарубежного производства.
Кроме того, часть производителей предлагает полный перечень узлов, необходимых для создания полностью автономной биогазовой установки, тогда как другие производят лишь биореактор и некоторые сопутствующие устройства.
BioMash-20

Биогазовая установка от «Конструкторского бюро Климова» подходит для переработки навоза/помета влажностью ≤90% общей массой 300–700 кг в сутки с добавлением подстилочного материала (максимум 20% от массы). Биореактор изготовлен из полиэтилена, поэтому не требует обслуживания и ремонта.
Вместе с реактором поставляют основной газгольдер и насос для его накачки (максимальное давление 2,8 Мпа). Благодаря столь высокому давлению газ можно закачивать в обычные газовые баллоны.
Также в комплект входят:
- газовый теплогенератор, выделяющий 100 квт в сутки;
- метановый электрогенератор мощностью 11 квт;
- полный комплект оборудования для обогрева метантенка;
- полный комплект газопроводов.
Серия «БИО»
Эти установки производства предназначены для переработки навоза/помета весом 10–350 тонн в сутки (зависит от модели).
Преимуществом этой серии является относительно невысокая цена, однако в комплект поставки входит лишь минимальный набор оборудования, поэтому газгольдеры и многое другое придется приобретать отдельно.
Серия «СБГ»

Эту серию биогазовых комплексов выпускает кировская .
Благодаря индивидуальному подходу к каждому клиенту, компания предлагает не только готовые комплекты, но и изготовление такой продукции под конкретные условия.
В модельном ряду представлены установки, способные за сутки переработать от 100 килограмм до 1000 тонн экскрементов.
В комплект поставки входит все необходимое оборудование для развертывания полноценной линии по переработке навоза в газ и очистке продукта.
Серия «БУГ»
Серию биогазовых установок «БУГ» производит ассоциация предприятий «БМП». В эту серию входят биореакторы небольшого объема (0,5–12 м3), оснащенные газгольдерами емкостью 1–2 м3.
Поэтому основными покупателями этой серии установок для производства биогаза из навоза и помета становятся небольшие фермерские хозяйства или домохозяйства с большим поголовьем птиц/скота.
Серия «БГР»
Серию биогазовых установок «БГР» выпускает расположенное в Яранске предприятие «BioGasRussia». Самая маломощная установка этой серии (БГР-12) способна переработать 500 – 900 кг экскрементов в сутки, а объем ее биореактора составляет 12 м3.

Объем реактора и массу ежедневного поступления навоза для более крупных установок этой серии обговаривают индивидуально, благодаря чему заказчик получает аппарат или даже завод, максимально соответствующие его потребностям.
В составе установок большого объема могут быть как вертикальные, так и горизонтальные метантенки, это обсуждается при оформлении заказа.
Кроме того, компания BioGasRussia предлагает весь спектр необходимого оборудования, благодаря чему биогазовая установка может работать в полностью автономном режиме — без подключения к электрическим или газовым сетям.
Дренаж для газа
Приобретать и устанавливать специализированные мешалки – не самый экономически целесообразный вариант. Для экономии можно сделать газовый дренаж. Это вертикальные пластиковые канализационные трубы с большим количество отверстий.







Дренаж также можно сделать из стальных труб, отличающихся повышенной устойчивостью к негативным воздействиям. Но, пластик практичнее из-за антикоррозионных свойств.

На фото самодельной биогазовой установки можно наглядно ознакомиться с данной конструкцией и особенностями ее сооружения.

Длину дренажных труб следует подбирать в соответствии с глубиной заполнения биореактора. Верх труб должен выступать над данным уровнем.

Дополнительное оборудование
К дополнительному оборудованию, без которого невозможна работа биореактора, относят:
- измельчающее устройство;
- источник тепловой энергии;
- систему сброса технической воды;
- хранилище сапропеля;
- очистную установку;
- основной газгольдер;
- установку сжижения газа;
- газгольдер для сжиженного газа;
- управляющую систему.
Измельчающее устройство
Измельчающее устройство принимает поступающую с мест содержания животных/птиц навозную/пометную жижу, а также смытую или убранную вручную подстилку и измельчает все крупные фрагменты, чтобы облегчить работу бактерий.
Кроме того, измельчающее устройство смешивает измельченную массу с водой, чтобы обеспечить необходимый уровень влажности, причем во время смешивания происходит доизмельчение материала.
Такой измельченный и разведенный водой материал называют субстратом.
После подготовки субстрат по трубам поступает в метантенк и смешивается с находящимся в нем веществом.
Источник тепловой энергии
Чаще всего роль такого источника исполняет адаптированный для работы на метане газовый котел, который в зимнее время также снабжает теплом систему отопления.
При этом необходимо постоянно отслеживать температуру внутри биореактора, чтобы она все время находилась в оптимальных пределах и, при необходимости, увеличивать или снижать подачу газа, для чего внутри емкости устанавливают датчики температуры.
Система сброса технической воды
Сливаемая с биореактора техническая вода содержит немного органических и неорганических веществ, но в ней нет ни возбудителей болезней, ни яиц или личинок глистов, а также семян сорняков. Поэтому ее можно использовать для полива, а также для разведения составов, используемых для подкормки.
Для реализации всех этих возможностей система, помимо периодически открываемого сливного клапана, должна содержать емкость для технической воды и средства доставки к месту использования.
Хранилище сапропеля
Скапливающийся на дне метантенка сапропель через специальный клапан поступает в хранилище, где постепенно накапливается.
Он является хорошим удобрением, сопоставимым с перегноем, однако менее качественно разрыхляющим почву.
Тем не менее, сапропель эффективно заменяет многие комплексные удобрения, ведь содержит широкий спектр органических и неорганических веществ.
После заполнения хранилище открывают и извлекают из него собранный материал, который затем вносят в почву.
Очистное устройство
Биогаз состоит из метана (50–60%) и других газов, поэтому в неочищенном состоянии обладает малой теплотворной способностью.
Такой очищенный биогаз по своей теплотворной способности сопоставим с природным и сжиженным газом, поэтому его можно использовать в качестве топлива для любых устройств, изначально работающих на указанных видах топлива.
Основной газгольдер
Это оборудование необходимо для сглаживания перепадов давления газа во время подключения или отключения потребителей. Газгольдер изготавливают из стали, благодаря чему он выдерживает давление в десятки или сотни атмосфер.
Вместе с газгольдером работает и насос, закачивающий в него газ под необходимым давлением.
Аппарат сжижения газа и газгольдер для его хранения
Эта установка позволяет запасать газ в те периоды, когда потребление меньше производства. Дело в том, что сжиженный газ занимает гораздо меньше места, поэтому при одинаковом объеме хранилища его можно запасти заметно больше.
Аппарат сжижает газ с помощью охлаждения, благодаря чему он переходит из газообразного в жидкое состояние.
Газгольдер для сжиженного газа изготавливают из высокопрочной стали, а также тщательно утепляют, ведь давление внутри газгольдера зависит не только от количества сжиженного метана, но и от его температуры.
Такой газгольдер позволяет в летние месяцы делать запас сжиженного метана, который зимой можно будет использовать для отопления или других нужд, компенсируя им недостаточную выработку биогаза. Кроме того, сжиженный газ из газгольдера хорошо подходит для заправки автомобилей и иной техники, работающей на таком виде топлива.
Управляющая система
Для обеспечения максимальной выработки биогаза, а также для увеличения доли метана в нем необходимо не только поддерживать оптимальную температуру, но и своевременно выполнять все необходимые действия, то есть:
- подавать субстрат;
- отводить воду;
- удалять сапропель;
- регулировать работу очистной и сжижающей установок.
Кроме того, к ней подключены датчики, отслеживающие состояние и работоспособность всех входящих в нее устройств.
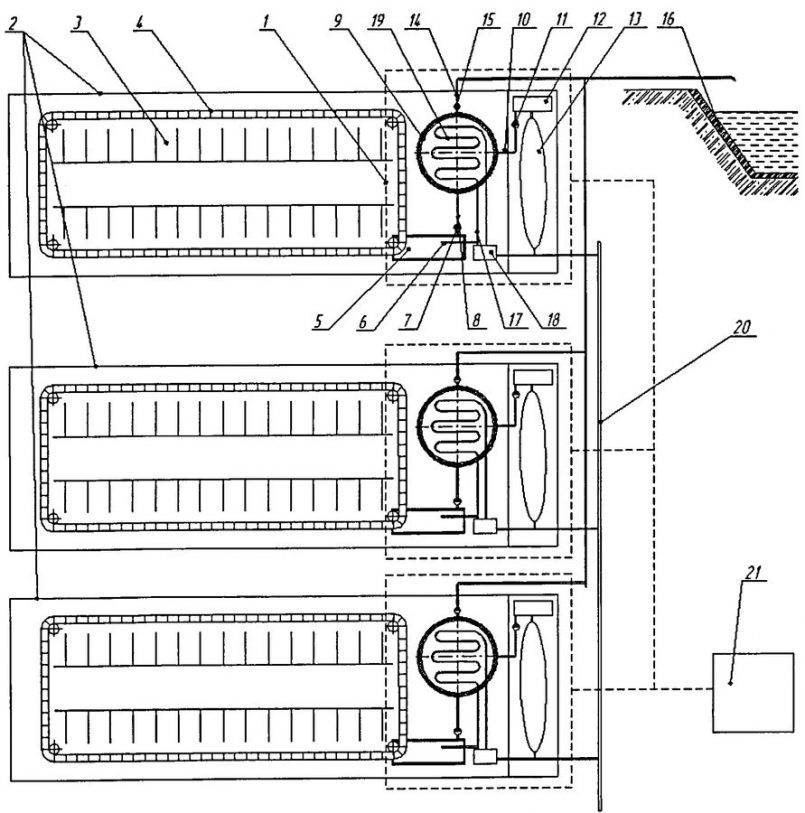
2 Биореактор для переработки органических отходов
Для утилизации биологических отходов с получением из них органических удобрений и одновременно биогаза используют биореактор. Широкое распространение получила установка БУГ, имеющая несколько модификаций. Отличаются они своей производительностью.
Стандартная биогазовая установка включает в себя следующее оборудование для переработки навоза и других органических отходов:
- емкость для гомогенизации;
- загрузчики жидкого и твердого сырья;
- систему безопасности;
- контрольно измерительные приборы и автоматику с визуализацией;
- биореактор с газгольдером;
- мешалки и сепараторы;
- насосную станцию;
- системы отопления и смешивания воды;
- газовую систему.
2.1 Процессы, протекающие в биореакторе
Биореактор состоит из трех разделенных секций:

Биогазовые установки
- загрузочной;
- рабочей;
- выгрузочной.
Внутренняя поверхностная часть реактора не ровная, а сделана в виде трубчатой емкости. Это способствует ускорению и более полному протеканию процесса переработки. Из приемной секции переработанный в однородную биомассу и смешанный с водой субстрат через технологический люк попадает в биореактор.
Верхняя средняя часть рабочей секции, также оборудована герметичным люком, на котором располагаются приборы контроля уровня биомассы, отбора биогаза и его давления. При увеличении давления внутри реактора происходит автоматическое включение компрессора, что предотвращает разрыв резервуара. Компрессор откачивает биогаз из реактора в газгольдер. В биореакторе установлен нагревательный элемент, поддерживающий температуру необходимую для брожения биомассы.
В рабочей секции реактора температура всегда выше, чем в двух других секциях. Это обеспечивает полноту цикла химического процесса и увеличивает продуктивность. В этой части реактора биомасса непрерывно перемешивается, что предотвращает появление плавающей корки, препятствующей выходу биогаза.
Полностью переработанный субстрат поступает в выгрузочную секцию биореактора. Здесь происходит окончательное разделение остатков газа и жидких удобрений.
Установки, перерабатывающие навоз, птичий помет и прочие органические отходы любого вида действия широко востребованы и применяются в сельском хозяйстве. Биогазовые установки находят применение в городском коммунальном хозяйстве при утилизации органического мусора и получения биогаза для теплоэнергетики.
Дополнительное оборудование
К дополнительному оборудованию, без которого невозможна работа биореактора, относят:
- измельчающее устройство;
- источник тепловой энергии;
- систему сброса технической воды;
- хранилище сапропеля;
- очистную установку;
- основной газгольдер;
- установку сжижения газа;
- газгольдер для сжиженного газа;
- управляющую систему.
Измельчающее устройство
Измельчающее устройство принимает поступающую с мест содержания животных/птиц навозную/пометную жижу, а также смытую или убранную вручную подстилку и измельчает все крупные фрагменты, чтобы облегчить работу бактерий. Кроме того, измельчающее устройство смешивает измельченную массу с водой, чтобы обеспечить необходимый уровень влажности, причем во время смешивания происходит доизмельчение материала.
Такой измельченный и разведенный водой материал называют субстратом.
После подготовки субстрат по трубам поступает в метантенк и смешивается с находящимся в нем веществом.
Источник тепловой энергии
Чаще всего роль такого источника исполняет адаптированный для работы на метане газовый котел, который в зимнее время также снабжает теплом систему отопления.
При этом необходимо постоянно отслеживать температуру внутри биореактора, чтобы она все время находилась в оптимальных пределах и, при необходимости, увеличивать или снижать подачу газа, для чего внутри емкости устанавливают датчики температуры.
Система сброса технической воды
Сливаемая с биореактора техническая вода содержит немного органических и неорганических веществ, но в ней нет ни возбудителей болезней, ни яиц или личинок глистов, а также семян сорняков. Поэтому ее можно использовать для полива, а также для разведения составов, используемых для подкормки.
Для реализации всех этих возможностей система, помимо периодически открываемого сливного клапана, должна содержать емкость для технической воды и средства доставки к месту использования.
Хранилище сапропеля
Скапливающийся на дне метантенка сапропель через специальный клапан поступает в хранилище, где постепенно накапливается. Он является хорошим удобрением, сопоставимым с перегноем, однако менее качественно разрыхляющим почву.
Тем не менее, сапропель эффективно заменяет многие комплексные удобрения, ведь содержит широкий спектр органических и неорганических веществ.
После заполнения хранилище открывают и извлекают из него собранный материал, который затем вносят в почву.
Очистное устройство
Биогаз состоит из метана (50–60%) и других газов, поэтому в неочищенном состоянии обладает малой теплотворной способностью.
Такой очищенный биогаз по своей теплотворной способности сопоставим с природным и сжиженным газом, поэтому его можно использовать в качестве топлива для любых устройств, изначально работающих на указанных видах топлива.
Основной газгольдер
Это оборудование необходимо для сглаживания перепадов давления газа во время подключения или отключения потребителей. Газгольдер изготавливают из стали, благодаря чему он выдерживает давление в десятки или сотни атмосфер.
Вместе с газгольдером работает и насос, закачивающий в него газ под необходимым давлением.
Аппарат сжижения газа и газгольдер для его хранения
Эта установка позволяет запасать газ в те периоды, когда потребление меньше производства. Дело в том, что сжиженный газ занимает гораздо меньше места, поэтому при одинаковом объеме хранилища его можно запасти заметно больше.
Аппарат сжижает газ с помощью охлаждения, благодаря чему он переходит из газообразного в жидкое состояние. Газгольдер для сжиженного газа изготавливают из высокопрочной стали, а также тщательно утепляют, ведь давление внутри газгольдера зависит не только от количества сжиженного метана, но и от его температуры.
Такой газгольдер позволяет в летние месяцы делать запас сжиженного метана, который зимой можно будет использовать для отопления или других нужд, компенсируя им недостаточную выработку биогаза. Кроме того, сжиженный газ из газгольдера хорошо подходит для заправки автомобилей и иной техники, работающей на таком виде топлива.
Управляющая система
Для обеспечения максимальной выработки биогаза, а также для увеличения доли метана в нем необходимо не только поддерживать оптимальную температуру, но и своевременно выполнять все необходимые действия, то есть:
- подавать субстрат;
- отводить воду;
- удалять сапропель;
- регулировать работу очистной и сжижающей установок.
Кроме того, к ней подключены датчики, отслеживающие состояние и работоспособность всех входящих в нее устройств.
Расчет рентабельности установки
В качестве сырья для производства биогаза обычно используют коровий навоз. Одна взрослая корова может дать его столько, чтобы обеспечить 1.5 м.куб. топлива; свинья – 0.2 м.куб.; курица или кроль (в зависимости от массы тела) – 0.01-0.02 м.куб. Чтобы понять, много это или мало, можно сравнить с более привычными видами ресурсов.
Галерея изображений
Фото из
Иногда системы устанавливают в подсобных помещениях. Это удобно с точки зрения осмотров и обслуживания, но небезопасно, т.к. биометан может взорваться
Поэтому следует уделить особое внимание вопросам безопасности
Транспортировка сырья – отдельный вопрос, который следует обдумать в процессе проектирования биогазовой установки. Для перевозки по участку лучше использовать специальную технику или прицепы. Если нужна доставка на большие расстояния, следует просчитать расходы на топливо и определить, окупятся ли они
При покупке контейнеров биогазовой установки и тем более при изготовлении своими руками придется уделить внимание их качеству. Также в процессе эксплуатации системы нужны регулярные проверки состояния и ремонты. Биогазовая установка может стать настоящим спасением для фермерского хозяйства
Она позволяет сэкономить на топливе для обогрева и/или освещения коровников. Также это отличный вариант безвредной утилизации отходов. Однако в первые годы вряд ли приходится рассчитывать на полноценную отдачу
Биогазовая установка может стать настоящим спасением для фермерского хозяйства. Она позволяет сэкономить на топливе для обогрева и/или освещения коровников. Также это отличный вариант безвредной утилизации отходов. Однако в первые годы вряд ли приходится рассчитывать на полноценную отдачу
Устройство биореактора из утепленной пластиковой емкости
Удобный транспорт для перевозки субстрата
Компактная установка промышленного производства
Биогазовая установка на молочной ферме
1 м.куб. биогаза обеспечивает такое же количество тепловой энергии, как:
- дрова – 3.5 кг;
- уголь – 1-2 кг;
- электричество – 9-10 кВт/ч.
Если знать примерный вес сельскохозяйственных отходов, которые будут доступны в течение ближайших лет, и количество необходимой энергии, можно просчитать рентабельность биогазовой установки.
Один из главных недостатков добычи биогаза – запах. Возможность использования небольших компостных куч – это большой плюс, но придется терпеть неудобства и тщательно контролировать процесс, чтобы не спровоцировать распространение болезнетворных микроорганизмов (+)
Для закладки в биореактор готовят субстрат, в который входят несколько компонентов в таких пропорциях:
- навоз (лучше всего коровий или свиной) – 1.5 т;
- органические отходы (это могут быть перегнившие листья или другие компоненты растительного происхождения) – 3.5 т;
- подогретая до 35 градусов вода (количество теплой воды рассчитывают так, чтобы ее масса составляла 65-75% от общего количества органики).
Расчет субстрата сделан для одной закладки на полгода, если исходить из умеренного потребления газа. Примерно через 10-15 дней процесс ферментации даст первые результаты: газ появится в небольших количествах и начнет заполнять хранилище. Через 30 дней можно ожидать полноценной выработки топлива.
Оборудование для производства биогаза пока еще не особенно распространено в нашей стране. Во многом это связано с плохой информированностью людей о преимуществах и особенностях работы биогазовых систем. В Китае и Индии многие небольшие фермерские хозяйства оборудованы кустарными установками для получения дополнительного чистого топлива
Если установка работает правильно, объем биогаза постепенно будет увеличиваться, пока субстрат не перегниет. Производительность конструкции напрямую зависит от скорости брожения биомассы, которая в свою очередь связана с температурой и влажностью субстрата.
Производство биогаза из навоза: суть метода
Для повышения эффективности производства биогаза необходимо ускорить процесс разложения и брожения сырья. Чтобы это осуществить, нужно создать максимально благоприятные условия для размножения нужных бактерий. Для этого потребуется поместить навоз в специальную емкость — реактор. Емкость при этом должна быть закрыта — в таких условиях бактерии будут размножаться активней. Уже в реакторе навоз подвергается измельчению, а после смешивается с водой. Вода обязательно должна быть чистой. В противном случае в субстрат попадут посторонние микробы, которые могут замедлить процесс брожения.
В промышленных условиях установка для производства биогаза оборудована системой подогрева реактора, контроллером кислотности и специальными лопастями для перемешивания субстрата. Перемешивание навоза позволяет избавиться от образования твердой корки, которая блокирует поступление кислорода с внешней стороны и выход метана — с внутренней. Срок получения метана в промышленных условиях составляет не менее пятнадцати суток. За это время навоз способен разложиться до 25%. Максимальный отток метана происходит при степени разложения в 33%.

Следует учесть, что на днище реактора образовывается гнилой ил. Он выводится с помощью специальной трубки, которая отводит его в отдельный резервуар для шлама. Впоследствии шлам вычищается и удаляется. Поднимающийся вверх по резервуару метан проходит очищение паровой баней, а после отправляется в газовый коллектор.
Промышленное получение метана предполагает ежедневную закачку свежего субстрата, который смешивается с тем, что уже начал бродить. За день можно добавить 5% свежего навоза вместо 5% отработанного. Удаленный из реактора навоз можно использовать в качестве удобрения для земли. Так у вас получится безотходное производство, где вы сможете получить и биогаз, и удобрения.
Какие установки применяют для получения биогаза
Если установку планируется разместить вблизи фермы, то лучшим вариантом будет разборная конструкция, которую легко перевезти в другое место. Основной элемент установки – биореактор, в который заливается сырье и происходит процесс брожения. На крупных предприятиях используют цистерны объемом 50 кубических метров.
В частных хозяйствах строят подземные резервуары в качестве биореактора. Их выкладывают из кирпича в подготовленную яму и обмазывают цементом. Бетон повышает степень безопасности конструкции и препятствует попаданию воздуха. Объем зависит от того, сколько сырья в день получают с домашних животных.
Поверхностные системы также популярны в домашних условиях. При желании установку можно разобрать и перенести в другое место, в отличие от стационарного подземного реактора. В качестве цистерны используют пластиковые, металлические или поливинилхлоридные бочки.
По типу управления имеются:
автоматические станции, в которых долив и откачка отработанного сырья осуществляется без участия человека;
механические, где весь процесс контролируется вручную.
С помощью насоса можно облегчить освобождение резервуара, в который попадают отходы после брожения. Некоторые народные умельцы применяют насосы для откачки газа из подушек (например, автомобильных камер) в очистное сооружение.
Схема самодельной установки для получения биогаза из навоза
Перед сооружением биогазовой установки на своем участке необходимо ознакомиться с потенциальной опасностью, которая может взорвать реактор. Главное условие – отсутствие кислорода.
Метан – это взрывоопасный газ и он способен воспламеняться, но для этого его необходимо нагреть выше 500 градусов. Если биогаз смешается с воздухом, возникнет избыточное давление, которое разорвет реактор. Бетонный может треснуть и будет не пригоден для дальнейшего использования.
Видео: Биогаз из птичьего помета
Чтобы давление не сорвало крышку, применяют противовес, защитную прокладку между крышкой и резервуаром. Емкость заполняют не до конца – должно оставаться как минимум 10% объема для выхода газа. Лучше – 20%.
Итак, чтобы сделать у себя на участке биореактор со всеми приспособлениями, необходимо:
Удачно выбрать место, чтобы оно находилось подальше от жилья (мало ли что).
Рассчитать предположительное количество навоза, которое ежедневно выдают животные. Как считать – читать ниже.
Определиться, где проложить загрузочную и отгрузочную трубу, а также трубу для конденсации влаги в полученном газе.
Определиться с местом расположения резервуара для отходов (по умолчанию удобрения).
Вырыть котлован, исходя из расчетов количества сырья.
Выбрать емкость, которая будет служить резервуаром для навоза и установить ее в котлован. Если планируется бетонный реактор, тогда дно котлована заливается бетоном, стенки выкладываются кирпичом и штукатурятся бетонным раствором. После этого необходимо дать время просохнуть.
Стыковки между реактором и трубами также герметизируются на этапе закладки резервуара.
Обустроить люк для осмотра реактора. Между ним ставится герметичная прокладка.
Если климат холодный, то перед бетонированием или установкой пластикового резервуара продумывают способы его обогрева. Это могут быть нагревательные приборы или лента, используемая в технологии «теплый пол».
В конце работ проверить реактор на герметичность.
Расчет количества газа
Из одной тонны навоза можно получить примерно 100 кубических метров газа. Вопрос – сколько помета дают домашние животные в сутки:
курица – 165 г в сутки;
корова – 35 кг;
коза – 1 кг;
конь – 15 кг;
овца – 1 кг;
свинья – 5 кг.
Умножить эти показатели на количество голов и получится суточная доза экскрементов, подлежащих переработке.
Больше газа получают от коров и свиней. Если добавить в смесь такие энергетически мощные растения как кукуруза, свекольная ботва, просо, то количество биогаза увеличится. Большой потенциал у болотных растений и водорослей.
Самый высокий – у отходов мясоперабатывающих комбинатов. Если такие хозяйства есть поблизости, то можно скооперироваться и установить один реактор на всех. Сроки окупаемости биореактора 1 – 2 года.



































