Установка
При выборе модели сепаратора необходимо принимать во внимание место его установки. Существуют модели, предназначенные для монтажа внутри помещения или (и) вне его
Существует три варианта установки в доме:
- под раковиной или мойкой;
- в подвале;
- в отведенном для этой цели помещении.
В быту, как правило, используют первый вариант. Кратко распишем очередность действий при установке бытового сепаратора:
- Выбираем, где будет находиться устройство. Для этого подходит любая поверхность с ровным и твердым покрытием. Поскольку в процессе эксплуатации жироуловителю требуется регулярная чистка, то необходимо обеспечить к нему свободный доступ. Наилучший вариант — место под раковиной или рядом с ней.
- Устанавливаем сепаратор на выбранное место.
- Шланг слива мойки соединяем с входным патрубком. Для обеспечения герметизации стыка используем прокладки из резины (как правило, поставляются с устройством), в качестве дополнительной меры безопасности можно использовать силиконовый герметик.
- Сливной патрубок подключаем к канализационному стоку (лучше всего для этой цели использовать гофрированный шланг соответствующего диаметра), не забывая при этом про резиновые уплотнители.
- Заполняем конструкцию водой, с целью проверки герметичности. При обнаружении течи устраняем ее.
- Закрываем верхнюю крышку, после чего устройство готово к работе.
Наружный вертикальный или обычный жироуловитель монтируется в грунт по тому же принципу, как и септик, описание этого процесса можно найти на нашем сайте.
Правила установки сепаратора
Переходим с важной части статьи – установка жироуловителя под мойку. Данный процесс простой, установить прибор своими руками – не проблема
Можно ознакомиться с инструкцией для большей уверенности, благо она входит в комплектацию.

Теперь о требованиях к монтажу жироуловителя.
- Основание, на которое будет монтироваться агрегат, должно быть прочное. Пластиковые модели весят немного, но в них будет собираться приличный объем воды. Так что общий вес может дойти до 40 кг. К тому же при сливе стоков из мойки прибор будет вибрировать. А это уже приличная нагрузка на постамент. Поэтому не стоит устанавливать его на нижнюю полочку шкафа для раковины мойки. Лучше установить на пол, сняв эту полочку.
- Входная и выходная труба должны располагаться в одном пространстве с жироуловителем. То есть, не рекомендуется держать резервуар в одном отсеке кухонного гарнитура, а трубы в другом. Все должно быть компактно, но со свободным доступом ко всем деталям и узлам жироуловителя.
Теперь, что касается установки жироуловителя своими руками. В принципе, ничего сложно. Надо установить прибор по месту назначения, то есть, под мойку. Соединить ее сливной гофрированный шланг с входным патрубком агрегата, а выходной патрубок такой де гофрой с трубой канализации. В комплекте жироуловителя идут резиновые прокладки, которые устанавливаются в местах соединения. Они прочные и прослужат не один год. Но специалисты рекомендуют перед соединением смазать их силиконовым герметиком. Это просто увеличит герметизацию стыков.
Установка жироуловителей на канализацию
В здании приборы устанавливаются в отдельной комнате, в подвальном помещении или под мойкой на уровне пола либо с незначительным углублением. С целью правильной работы уличных устройств и предотвращения всевозможных проблем для монтажа требуется проведение земельных работ, бетонирование твердой и ровной плоскости. Оптимальным вариантом станет установка профессиональными мастерами.
Для увеличения срока службы используются дополнительные элементы, к примеру датчики степени накопления отложений.
Самой сложной задачей является очищение, но благодаря параметрам системы его проведение требуется достаточно редко.
Перед монтажом под мойку требуются точные замеры пространства для размещения устройства
С учетом того, что в этом месте используются шкафы и иные виды мебели, нужно обратить внимание на то, что между стенками мебели и жироуловителем было свободное пространство не более 3-4 см для обеспечения эффективной работы и беспрепятственного доступа в ходе профилактического и ремонтного обслуживания
Топ 5 производителей
Выбирая жироуловитель для кухни, одни отдают предпочтение дешевым и популярным моделям, другие покупают более дорогие, функциональные, долговечные – с 30-летним сроком эксплуатации
Оценивая жироловки, надо обращать внимание на их производительность
В Топ-5 по популярности вошли несколько известных производителей:
- Evo Stok – предлагает недорогие устройства, материал изготовления которых – прочный армированный пластик.
- FloTenk – занимается производством высокопроизводительных жироловок из армированного стеклопластика, преимущественно круглой формы. У продукции этого бренда – высокая цена, зато более длительный срок службы.
- «Пятый элемент» – это бренд, специализирующийся на выпуске стальных и пластиковых устройств, имеющих съемный ограничитель водного потока, его изделия подгоняются под индивидуальные параметры кухонных моек.
- Wavin Labko – предлагает автоматизированные стеклопластиковые модели, улавливающие жир с высокой производительностью. Есть датчик, информирующий об уровне скопившегося жира в емкости.
- Vortex – выпускает устройства, имеющие прочный армированный пластиковый корпус, в том числе и модели для канализационных систем нестандартного вида. Специальные ребра жесткости на корпусе придают сепаратору лучшую устойчивость к механической деформации.
Пользуются спросом сепараторы из нержавейки от ACO Group, а также жироулавливатели канализационные из полипропилена «Термит», которые применяются на предприятиях общепита небольшого масштаба. Продукция марки «Grease Guardian», работающая в автоматическом режиме, установлена во всех МакДональдсах.
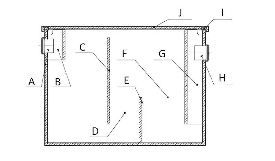
Что такое жироуловитель, его устройство и принцип работы
Это специальные резервуары, служащие для удаления жиров, содержащихся в стоках. Упрощенный чертеж такого устройства продемонстрирован ниже.
Конструкция жироуловителя
Обозначения:
- А — установленный на входе патрубок;
- В — перегородка, играет роль гасителя потока;
- С — первая сепарационная перегородка;
- D — сепарационная камера;
- Е — вторая сепарационная перегородка;
- F — отсек отстаивания;
- G — выходной распределительный отсек;
- H — патрубок для отвода очищенных стоков;
- I — уплотнитель, обеспечивающий герметичность конструкции;
- J — крышка резервуара.
Наиболее распространенный способ отделения жиров — механический. В баке устанавливаются сепараторные перегородки, которые способствуют замедлению движения стоков и их охлаждению. В результате этого, содержащиеся в них жировые образования, за счет перехода в неэмульгированное состояние, собираются на поверхности воды. При накоплении определенного объема жира производится чистка. Наглядная схема работы устройства продемонстрирована ниже.
Схема работы жироуловителя
Обозначения:
- А — подвод стоков в бак;
- В — осадок из тяжелых загрязнений;
- С — скопившийся на поверхности воды жир;
- D — сепарационные перегородки;
- Е — линия уровня воды;
- F — отвод в канализацию.
Основные технические характеристики сепараторов определяются их размерами, производительностью, объемом пикового сброса и способом монтажа.
Назначение и преимущества жироуловителей
Более сложные модели ловушек жира применяются на крупных предприятиях и предназначены для эффективной очистки сточных вод от твердых частиц, жиросодержащих и масляных примесей.
По санитарным нормам на мясно-молочных производствах и на предприятиях общественного питания установка жироулавливающего оборудования на канализацию обязательна.
Промышленные устройства устанавливают на выходе очистной конструкции, выполняющей первичную очистку сточных вод.
Установка уловителя жира защитит канализацию любого предприятия общественного питания или производства от загрязнения жировыми и масляными включениями
Промышленные устройства разработаны производителями для того, чтобы в канализационную систему попадала чистая вода, очищенная от посторонних примесей путем отделения и дальнейшего удаления жирной составляющей сточной массы.
Установка жироуловителя позволит избежать выхода из строя канализации из-за воздействия жировых отложений. Также он защищает окружающую среду от выброса вредных примесей, которые могут нанести непоправимый урон экологии.
Такие сепараторы незаменимы не только на производстве, а в быту. Они надежно защищают трубы канализации от возникновения жировых клапанов или заторов. На 1-ом этапе аппарат получает бытовую воду, отделяет жировые и масляные накопления.
На 2-ом этапе наблюдается финишное отделение жировых отложений и вывод эффективно очищенной воды в канализационную систему. Прибор задерживает неэмульгированные жиры и удаляет их из сточных вод.
Жироуловитель, установленный под мойкой, часто используется на домашних кухнях, в кафе, ресторанах, кондитерских и заведениях быстрого питания
Использование жироулавливающего оборудования имеет ряд преимуществ:
- Герметичность оборудования. За счет герметичности корпуса исключается возможность попадания в фильтр посторонней жидкости.
- Практичность и универсальность. Возможна установка различных дополнительных устройств. Особым спросом пользуется датчик накопления вредных веществ.
- Отсутствие неприятных запахов. За счет герметичности корпуса в помещение не проникают запахи, возникающие обычно в процессе распада жиров.
- Простота монтажа. Установка уловителей жира для помещения не требует особых навыков и выполняется в 4 этапа.
- Легкость обслуживания. Для чистки большинства моделей уловителей жира не требуется особых усилий, ее можно выполнить вручную, использую подручные средства.
- Приемлемая стоимость. Устройства имеют низкую цену по сравнению с другими видами фильтров.
Кроме этих плюсов у прибора, собирающего жир, еще и длительный срок эксплуатации. Все оборудование выполнено из качественных и износоустойчивых материалов, что гарантирует его долговечность.
Важный плюс применения жироуловителя – сохранение экологии, что особенно актуально в современное время
Принцип действия устройства
Схема организации очистной системы с жироуловителем достаточно проста, поэтому может быть реализована даже несведущим специалистом. Главное – приобрести качественные комплектующие и расположить их в необходимом порядке.
Жироловки функционируют по следующему принципу:
- Вода из раковины поступает во входной патрубок очистной системы, начинает заполняться первый резервуар;
- За счет низкой плотности частички жира начинают подниматься над поверхностью воды;
- По мере наполнения резервуара жир перемещается в специальную ловушку, где и остается;
- Вода перемещается во второй отсек, где она проходит вторичную очистку, а после уходит в канализацию.
В период функционирования системы в первом отсеке скапливаются еще и твердые частицы, которые периодически нужно оттуда удалять. Для этих целей резервуар нужно полностью вытаскивать и тщательно вымывать. В среднем такая процедура проводится раз в неделю.
На крупных предприятиях, где через канализацию ежедневно проходит большое количество загрязненной воды, рекомендуется устанавливать механический фильтр грубой очистки. Именно он предотвратит преждевременный выход из строя жироуловителя.
Советы по выбору
Эксперты советуют обратить внимание на следующие важные детали:
- Материал. Стоит определиться с приоритетами и условиями эксплуатации. Пластик служит до 30 лет, не боится коррозии и химических веществ, но со временем становится хрупким и дать протечку. К тому же он мало устойчив к механическим повреждениям. Стеклопластик подойдет для промышленных предприятий и частных домов с сепаратором жира с большой пропускной способностью. Он не боится перепадов температур. Нержавеющая сталь — такому материалу ничего не страшно, однако большой вес и сложности в установке будут недостатками.
- Пиковый сброс, т.е. объем воды, проходящий через устройство за один раз. Для дома или частной квартиры подойдут модели до 40 л/с, а предприятиям, кафе, ресторанам потребуется индивидуальный расчет у специалиста.
- Марка. Выбирайте только известные марки и производителей, которые известны и хорошо себя зарекомендовали.
- Цена. Изделия из пластика отличаются доступностью, простотой в уходе и установке, самыми дорогими являются жироуловители из нержавеющей стали. Все зависит от ваших возможностей и личных предпочтений.
- Способ очистки. Вручную для бытовых и со специализированными насосами (для предприятий).
- Размеры свободного пространства под мойкой. Индивидуально для каждого. Сверху должно быть место для снятия крышки, а по бокам для присоединяемых труб.
- Диаметр труб на кухне. Стоит отдать предпочтение жироуловителю с аналогичными размерами отверстий, чтобы не использовать позже пластиковые переходники.
- Количество обслуживаемых моек. Нужно учитывать при расчетах одновременное поступление стоков со всех открытых кранов.
- Характеристики стоков. При большом количестве твердых частиц в сливаемой воде лучше выбирать модели с дополнительными перегородками.
- Наличие рядом с мойкой канализационного стояка или фановой трубы для предупреждения срыва гидрозатвора на сифоне. Модели с воздуховодом предпочтительнее, однако их возможность подключения к канализационному стояку имеется не в каждом доме.
- Температура используемой воды. Указана в инструкции по эксплуатации.
- Наличие свободного пространства для осуществления работ по обслуживанию оборудования. Для полной уборки и чистки в случае западания отходов за корпус изделия.
Успехов в выборе!
Правила и последовательность монтажа
Жироулавливатели в столовой или на кухне ресторана могут быть установлены наземным (в кухне или подсобном помещении) или подземным (на прилегающей территории) способом.
В первом случае работы выполняются по следующему алгоритму:
- Подготовка места под установку сепаратора. Для этих целей подойдет ровная поверхность, откуда к резервуару будет открываться полный доступ. Чаще всего масложироуловитель устанавливается непосредственно под мойкой или рядом с посудомоечной машиной.
- Установка фильтра.
- Подключение входного патрубка жироуловителя к канализационной трубе.
- Организация отвода выходного патрубка в систему слива.
- Проверка работоспособности системы и ее герметичности.
- Закрытие крышки аппарата.
В среднем монтаж таким способом занимает от одного до нескольких часов. Сложностей здесь возникнуть не должно, особенно если вооружиться инструкцией от производителя.
Установка жироуловителя на прилегающей территории – задача сложная, требующая присутствия специалиста.
Здесь для достижения поставленной цели потребуется произвести следующие действия:
Выбрать место
Важно учитывать не только эстетическую сторону вопроса, но и функциональный аспект – сепаратор должен будет располагаться в непосредственной близости от кухни.
Копка ямы. На дне земляного углубления в обязательном порядке делается «подушка» из песка и цемента. Крышка сепаратора должна выступать над уровнем земли примерно на 5 см.
После того как «подушка» застынет, можно устанавливать и само устройство
Делать это нужно по тому же принципу, что и комнатный сепаратор. Разница только в том, что размещаться система будет в колодце, а вокруг нее располагается грунт.
Крышка сепаратора должна выступать над уровнем земли примерно на 5 см.
После того как «подушка» застынет, можно устанавливать и само устройство. Делать это нужно по тому же принципу, что и комнатный сепаратор. Разница только в том, что размещаться система будет в колодце, а вокруг нее располагается грунт.
Для отведения лишних газовых скоплений, способных повредить систему, рекомендуется устанавливать специальные фановые стояки. Однако если в заведении предполагается незначительная проходимость, можно обойтись и без них.
Лучшие жироуловители для бытового применения
В кухнях квартир и домов образуется немного сточных вод. Поэтому оптимальным вариантом будет покупка бытовых жироуловителей
Эксперты советуют обратить внимание на следующие модели.
Биофор Эконом – 40
Рейтинг: 4.9

Эффективно собирает жир в условиях квартир, домов и небольших заведений общепита модель Биофор Эконом – 40. Устройство представляет собой цельнолитой пластиковый резервуар, внутреннее пространство которого разделено на несколько камер. В первой камере собирается крупный мусор, во втором отсеке задерживается жир. Эксперты отмечают качественную сепарацию сточных вод, благодаря чему канализационные трубы долгое время не придется чистить. Емкость жироуловителя составляет 40 л, за час через устройство может пройти до 0,51 куб. м сточных вод.
Отечественные пользователи довольны производительностью, качеством сепарации, простотой эксплуатации. Нареканий к работе приспособления у них нет. Жироуловитель завоевывает золото нашего обзора.
- компактность;
- хорошая производительность;
- качественная сепарация;
- простота обслуживания.
не обнаружено.
Alta-M-In 0,5-25
Рейтинг: 4.8

Компактные размеры и небольшой вес (6 кг) являются важными преимуществами жироуловителя Alta-M-In 0,5-25. Емкость можно установить под обычную мойку в кухонной тумбочке. Российский производитель применил инновационную технологию очистки сточных вод, которая обеспечивает высокую эффективность очистки. Корпус модели сделан из современных полимерных материалов, срок службы составляет более 50 лет. При этом эксперты по достоинству оценили экологичность пластика. Жироуловитель прост в монтаже и эксплуатации, сфера применения устройства широка (жилые дома, кафе, рестораны, столовые).
- эффективная сепарация;
- компактность и легкость;
- долговечность;
- экологичность.
высокая цена.
Аква Mini (0,3-20)
Рейтинг: 4.7

Доступная цена и компактные размеры помогли российскому жироуловителю Аква Mini (0,3-20) занять третье место в нашем обзоре. Модель качественно разделяет сточную воду на несколько фракций. В одной камере собираются твердые осадки, в другом отсеке скапливаются жиры, а выходит из устройства чистая вода. Весит изделие всего 2,7 кг, хотя корпус сделан из прочного пластика (толщина стенок 8 мм). К плюсам изделия, по мнению экспертов, следует отнести стойкость к ультрафиолету, герметичность и хорошее качество сепарации.
Пока жироуловитель редко встречается в продаже, поэтому реальных отзывов в сети мало. Похвалы модель заслуживает за демократичную цену, простоту установки и легкость обслуживания.
- легкость и компактность;
- демократичная цена;
- простота монтажа;
- стойкость к ультрафиолету.
редко встречается в продаже.
Оникс 0.5-15
Рейтинг: 4.7

Хорошую производительность (0,5 куб. м/ч) демонстрирует жироуловитель Оникс 0.5-15. Модель выполнена в виде куба с размером сторон 300 мм. Разделение сточных вод на фракции в емкости происходит на основе принципа гравитации, жир собирается в виде пленки сверху, а чистая вода просачивается снизу. Для изготовления корпуса производитель применил современный термостойкий полипропилен. Жироуловитель может работать в широком диапазоне температур (+5…+70ºС). Устройство отличается простотой в установке, его несложно периодически очищать от скопившегося жира
Эксперты обращают внимание на 3-летнюю гарантию производителя.
Пользователи хвалят модель за эффективную сепарацию и долговечность. Минусами изделия считается кубическая форма и высокая цена.
Конструкция и принцип работы жироуловителя для ресторана
Весь принцип работы данного вида оборудования заключается в том, чтобы максимально снизить уровень попадания жировых отходов в канализационную систему. Дополнительно к этому, конструкция устройства позволяет фильтровать бытовые сточные воды не только от жира, но и от крупных частиц.
- Стандартная конструкция жироуловителя состоит из двух отсеков, которые соединены между собой специальной трубой.
- В первом отсеке проходит фильтрация сточных вод от тяжелых и больших частиц, которые оседают на дне.
- Очищенный от них поток поступает в другой отсек, где за счет сепарации жидкости происходит отделение жирного слоя от основной массы. Весь жир поступает в специальную камеру, где храниться до момента его удаления.
- Все очищенные воды отводятся через специальный патрубок в систему канализации.
Таким образом, если вы проведете монтаж данного изделия в своем ресторане, то вы сможете обезопасить систему канализации от возможных поломок, и тем самым не иметь простой в работе за счет ее неисправности. Вложив правильно денежные средства в жироуловитель для ресторана под мойку, вам не надо будет тратиться в дальнейшем на восстановление работы целой инженерной системы коммуникационных труб.
Что такое жироуловитель, его устройство и принцип работы
Это специальные резервуары, служащие для удаления жиров, содержащихся в стоках. Упрощенный чертеж такого устройства продемонстрирован ниже.

Конструкция жироуловителя
Обозначения:
- А – установленный на входе патрубок;
- В – перегородка, играет роль гасителя потока;
- С – первая сепарационная перегородка;
- D – сепарационная камера;
- Е – вторая сепарационная перегородка;
- F – отсек отстаивания;
- G – выходной распределительный отсек;
- H – патрубок для отвода очищенных стоков;
- I – уплотнитель, обеспечивающий герметичность конструкции;
- J – крышка резервуара.
Наиболее распространенный способ отделения жиров – механический. В баке устанавливаются сепараторные перегородки, которые способствуют замедлению движения стоков и их охлаждению. В результате этого, содержащиеся в них жировые образования, за счет перехода в неэмульгированное состояние, собираются на поверхности воды. При накоплении определенного объема жира производится чистка. Наглядная схема работы устройства продемонстрирована ниже.

Схема работы жироуловителя
Обозначения:
- А – подвод стоков в бак;
- В – осадок из тяжелых загрязнений;
- С – скопившийся на поверхности воды жир;
- D – сепарационные перегородки;
- Е – линия уровня воды;
- F – отвод в канализацию.
Основные технические характеристики сепараторов определяются их размерами, производительностью, объемом пикового сброса и способом монтажа.
Что такое жироуловитель, его устройство и принцип работы
Это специальные резервуары, служащие для удаления жиров, содержащихся в стоках. Упрощенный чертеж такого устройства продемонстрирован ниже.
Конструкция жироуловителя
Обозначения:
- А – установленный на входе патрубок;
- В – перегородка, играет роль гасителя потока;
- С – первая сепарационная перегородка;
- D – сепарационная камера;
- Е — вторая сепарационная перегородка;
- F – отсек отстаивания;
- G – выходной распределительный отсек;
- H – патрубок для отвода очищенных стоков;
- I – уплотнитель, обеспечивающий герметичность конструкции;
- J – крышка резервуара.
Наиболее распространенный способ отделения жиров — механический. В баке устанавливаются сепараторные перегородки, которые способствуют замедлению движения стоков и их охлаждению. В результате этого, содержащиеся в них жировые образования, за счет перехода в неэмульгированное состояние, собираются на поверхности воды. При накоплении определенного объема жира производится чистка. Наглядная схема работы устройства продемонстрирована ниже.
Схема работы жироуловителя
Обозначения:
- А – подвод стоков в бак;
- В – осадок из тяжелых загрязнений;
- С – скопившийся на поверхности воды жир;
- D – сепарационные перегородки;
- Е – линия уровня воды;
- F – отвод в канализацию.
Основные технические характеристики сепараторов определяются их размерами, производительностью, объемом пикового сброса и способом монтажа.
Уход и обслуживание прибора
При интенсивном использовании жироуловителя выполнение операций по извлечению жира из очистительной установки может требоваться каждые пару недель. Контроль накопления загрязнений осуществляют, открыв верхнюю крышку контейнера. Скопившийся в верхней части емкости жировой сгусток подлежит удалению. Для этого подойдет специальный садок, входящий в заводские комплектации некоторых приборов. Можно также воспользоваться подходящим по габаритам ковшиком или обыкновенной кружкой. Смешанный с грязью пищевой жир, образовавший сгусток, достаточно плотный, поэтому он легко собирается, как пена с поверхности жидкости и выбрасывается в мусор.
Чтобы установленный под мойку агрегат жироуловителя не создавал аварийных проблем, а также эффективно отработал не меньше заявленного производителем срока, ему требуется несложная ежегодная профилактика. Для этого его отсоединяют от подвода сифона и канализационных коммуникаций и тщательно промывают, чтобы избавиться от тяжелых донных отложений.
- https://septikexpert.com/vidy-kanalizacii/komplektuyushhie/zhiroulovitel/
- https://www.kanalizaciya-stroy.ru/chto-takoe-zhiroulovitel.html
- https://stroyday.ru/stroitelstvo-doma/vodoprovod-i-kanalizaciya/zhiroulovitel-dlya-kanalizacii-iz-stolovoj.html
- https://santech-info.ru/kanalizaciya/zhiroulovitel-dlya-mojki-ustanovka-svoimi-rukami.html
Технология установки оборудования
Процесс монтажа сепаратора жира может осуществляться различными способами. Выбирать оптимальный тип установки надо в зависимости от вида и особенностей уловителя жира. Рассмотрим несколько вариантов монтажа сепараторов.
Установка уличного жироуловителя
Процедура монтажа промышленной ловушки жира – сложная и трудоемкая. Поэтому большинство покупателей ловушек предпочитают доверить установку оборудования специалистам.
Для того, чтобы выполнить монтаж самостоятельно, необходимо провести ряд подготовительных работ:
- Подбираем место для установки. При выборе следует учитывать особенности планировки участка, а также возможность выполнения ландшафтных работ в будущем.
- Определяем размер ямы для монтажа устройства – ее глубина должна быть такой, чтобы крышка уловителя жира была примерно на 4 см выше, чем поверхность земли.
- Выкапываем яму. На самом дне оборудуем твердую опалубку, в которую зальем смесь песка и цемента. Для песчаных грунтов и суглинков оптимально подойдет раствор, приготовленный в пропорции 1:5.
- Ждем пока раствор затвердеет, по минимуму это 14 дней.
Когда подготовка основания под установку завершена, можно приступать непосредственно к монтажу оборудования. Для этого устанавливаем на бетонном основании корпус уловителя жира и надежно закрепляем устройство петлям, заложенным в самодельную бетонную плиту в период заливки. Если петли забыли поставить, то их можно закрепить анкерными болтами.
Теперь вокруг установленного в котлован оборудования сооружаем своеобразные фанерные стенки. Этот процесс необходим для предотвращения осыпания грунта. Если планируется эксплуатировать сепаратор в холодном климате, тогда его надо укрыть теплоизоляционным материалом. Для этого подойдет минеральная вата или пенопласт.
Осталось подключить уловитель жира к коммуникационным сетям. Для этого выходной патрубок оборудования надо соединить с системой водоотведения. Стыки необходимо обработать герметиком. А входной патрубок устройства подключаем к канализационной трубе. Место стыковки элементов промазываем герметиком.
Все свободное пространство, образовавшееся между вокруг корпуса жироуловителя, засыпаем грунтом. Обычно используется обратная засыпка, в ходе которой в проем надо засыпать грунт, выкопанный из этого места на этапе рытья ямы.
Нельзя забывать про необходимость установки фанового стояка. Он требуется для отвода лишних газов, скопившихся в канализационной системе. Если на систему отведения стоков будет большая нагрузка, лучше установить сразу несколько стояков. Датчик накопления жира, который установлен внутри оборудования предупредит вас о необходимости проведения процедуры очистки.
Уличные жироуловители чаще очищаются специалистами специализированных компаний с использованием насосов или спецтехники
Установку и монтаж промышленных ловушек жира рекомендуется осуществлять с привлечением профессиональных монтажников. Они должны иметь разрешения и для проведения всего спектра работ.
Также профессиональные специалисты имеют необходимое для монтажа строительное оборудование, поэтому они могут выполнить необходимые процедуры для стабильной и длительной работы оборудования.
Монтаж уловителя жира внутри помещения
Установка бытового сепаратора под мойкой – более простой процесс, чем монтаж оборудования на улице. Для этого сначала предстоит выбрать оптимальное место для монтажа оборудования.
Оно должно находиться на легкодоступной, твердой и максимально ровной поверхности, поблизости от сантехнического оборудования.
Осталось выполнить ряд последовательных действий:
- Выводим выходной патрубок оборудования в систему канализации. На месте соединения нужно установить резиновую прокладку, которая идет в комплекте с прибором.
- Подключаем входной патрубок ловушки к выходной трубе саноборудования или к трубопроводу (на месте соединения мойки и моющей техники), не забыв поставить специальную прокладку.
- В жироуловитель набираем необходимое количество воды для проверки устройства на герметичность.
Если проверка прошла успешно, можно устанавливать на ловушку жира крышку. С установкой крышки монтаж оборудования можно считать завершенным.
Более подробно о том, как выбрать и установить жироуловитель под мойку, читайте в этом материале.


































